|
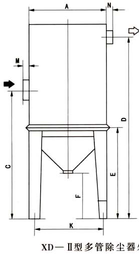
规格型号
|
XD-Ⅱ-0.5
|
XD-Ⅱ-1
|
XD-Ⅱ-2
|
XD-Ⅱ-4
|
XD-Ⅱ-6
|
XD-Ⅱ-10
|
XD-Ⅱ-20
|
XD-Ⅱ-35
|
|
配用锅炉(t/h)
|
0.5
|
1
|
2
|
4
|
6
|
10
|
20
|
35
|
|
处理烟气量(m3/h)
|
1500
|
3000
|
6000
|
12000
|
18000
|
30000
|
60000
|
105000
|
|
除尘效率(%)
|
>95
|
|||||||
|
本体阻力(Pa)
|
<900
|
|||||||
|
分割粒径
|
3.05
|
|||||||
|
重量
|
310
|
570
|
960
|
1900
|
2910
|
6100
|
11750
|
20300
|
|
|
|
|
’